柳州华锡集团大厂92#矿体是含锡、铅、锌品位较低的矿体,锡品位约0.77%
,储量约占大厂矿区的一半,开采92#矿体迫在眉睫。华锡集团为了保证其规模经济效益,即保证现有的锡、铅、锌金属产量不变,开采92
#
矿体必须将开采量由现在的130万t/a提高到200万t/a。铜坑采矿场距离车河选厂较远,矿石由索道运输到车河,索道的设计能力为130~140万t/a;车河选厂目前的工艺流程适合选别高品位矿石,要选别低品位矿石,车河选厂工艺流程系统必须改造;华锡集团为避免索道运输和车河选厂的系统改造,决定在铜坑实施粗粒预选抛废工程,抛弃30%~35%的废石,降低矿石运输量和提高矿石的入选品位,以达到降低运输费用、选矿成本及系统改造费用的目的。
1、矿石性质
92#矿体是大厂矿区最大的矿体,属锡石-多金属硫化矿。其中金属矿物有锡石、铁闪锌矿、脆硫锑铅矿、黄铁矿、磁黄铁矿、毒砂、方铅矿;脉石以硅酸盐为主。矿石硬度大,矿石真密度2.89g/cm3。-20mm时脉石的解离度较高,-20+4mm粒级经重液分离轻产品产率44.99
% ,含锡、铅、锌品位分别为0.05%、0.015
%和0.37%,这表明该矿石可以在粒度较粗情况下采用重选丢弃部分低品位脉石。
本次试验的矿石是由铜坑矿负责采取,根据92#矿体的分布情况,按照合理出矿要求,进行多点采样,矿样总重800t,经破碎后堆放在矿仓内。由于本次试验所用的矿量较大,无法混匀,在试验过程中给矿的品位和粒度稍有波动。原矿经化学分析含Sn0.70%、Pb0.34%、Zn2.34%、Sb0.32%、Ag3.13g/t。
2、粗粒锯齿波跳汰机的分选原理
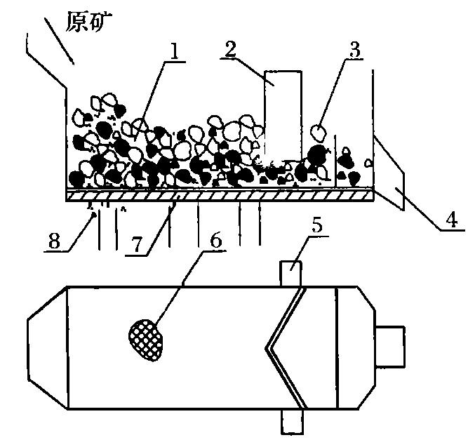
粗粒锯齿波跳汰机是北京矿冶研究总院在“九五”期间设计、研制的一种新型预选设备,其跳汰曲线为锯齿形,选别原理如图1
所示。原矿首先进入矿物分层区,-3.2mm矿物经跳汰、筛分大部分成为筛下产品;粗粒矿物经跳汰分层,重矿物逐渐沉积于筛网底部,轻矿物浮于表层。上升水流经导流筛框产生向前推动力使粗矿物向前运动,在跳汰机的尾部有一精矿、尾矿分隔V型板,尾矿由V型板两侧排出,精矿穿过V型板与筛网的间隙,进入精矿区,再越过精矿堰板排出为粗精矿。

图一:粗粒锯齿波跳汰机原理图
1、矿物分层区 2、V型分隔板 3、精矿区
4、精矿出口 5、尾矿出口 6、编织筛网
7、导流筛框 8、细粒精矿

3、试验工艺流程
半工业试验采用小型锯齿波跳汰机,筛板面积为0.36m2 。半工业试验和实验室小型试验流程基本一致,都采用-20mm全粒级入选工艺(见右图)
。从原矿筛析结果知-0.076mm粒级含量占11.15%,这部分细泥金属品位较高,全粒级预选有部分细泥随水流进入尾矿中,造成金属损失严重,回收率降低。因此,此次半工业试验增加尾矿脱泥作业,将尾矿通过筛网脱泥,筛上为尾矿,筛下作为精矿。
4、半工业试验及试验分析
4.1 调整试验粗粒锯齿波跳汰机于2000年5月底在大厂铜坑碎矿车间安装完毕,6
月初进行调整试验,在试验过程中,由于矿石性质的变化和给矿量不稳定等因素,给调整试验带来了一定的困难。改进给矿装置,使给矿量基本稳定后,通过多次条件试验,寻找出一组较为理想操作参数,在此参数条件下连续4次进行调整试验,其选别指标基本一致,其中选别效果最佳的一次试验结果如表:

由表2得知,抛废率为30.13%时,锡、铅、锌金属回收率分别为96.24%、92.09%、92.93%,尾矿品位分别为Sn0.09%、Pb0.098%、Zn0.61%。
4.2 连续半工业试验
在条件试验指标基本达到华锡集团公司要求后,于6月22日正式进行了2天6个班的连续半工业试验。这6个班的综合指标如表3所示。

由表3可知:6个班的综合指标为抛废率30.45%,锡、铅、锌金属回收率分别为93.48%、90.38%、90.75%,尾矿品位为Sn0.15%、Pb0.11%、Zn0.72%,基本达到华锡集团公司的要求。综合处理量为1.0t/h
,耗电量为0.669kW·h/t,耗水量为6.55 m3/t
。耗水量偏高,其原因是编织筛网周边没有固定在筛框上,筛网周边与筛框之间产生缝隙,造成筛下跑粗,这样原筛下细精矿排口由直径16mm增大到直径19mm;另外,后三个班的矿石粒度明显较粗,这都导致耗水量的增加,扣除不正常的因素,平均耗水量约为5.5m3/t。
4.3 产品分析
4.3.1 产品筛析
尾矿筛析样为未经脱泥的锯齿波跳汰机尾矿,筛析结果见表4 。筛析结果表明: ①尾矿中只有-0.5 mm 粒级具有回收价值,而-0.076mm
粒级产率和金属分布率分别占具有回收价值粒级的98.97%、99.40%
,因此对锯齿波跳汰机的尾矿只需进行脱泥作业,就可以将其回收。②尾矿中+3.2-10mm粒级的品位偏高,金属损失率较高,这说明宽级别分选工艺不甚合理,因此建议采用分级分别预选工艺,这样抛废率和金属回收率有望进一步得到提高。

4.3.2 精矿粒级回收率分析
锯齿波跳汰机预选大厂92#矿体的精矿粒级回收率见表5,-10+5mm
尾矿品位较高,粒级的金属回收率较低。粒级回收率分析再次说明-20mm全粒进入型锯齿波跳汰机预选,-10+3.2mm粒级的分选指标较差,所以建议采用分级分别预选工艺。

5、结 论
(1)大厂92#矿体矿石20~0mm全粒级入选,锯齿波跳汰机预选抛废率为30.45%,锡、铅、锌金属回收率分别为93.48%、90.38%、90.75%。
(2)矿石性质及产品的粒级回收率分析说明,92#矿体矿石采用分级预选工艺更合理,抛废率可望进一步得到提高。建议分级预选流程如图3。
(3) 试验证明,92 # 矿体矿石可以采用跳汰机预选抛废工艺解决华锡集团车河选矿厂面临的生产接替问题。